消息称苹果明年Q3推出小折叠iPhone,三星显示将供应约1600-2200万块屏幕
it之家1月8日消息,据华尔街见闻援引供应链消息,苹果计划于2026年第三季度推出首款折叠屏iphone,屏幕由三星显示提供,预计供应量达1600万至2200万块,包含部分备用量。

报道指出,苹果初步定于2026年9月发布这款折叠屏手机,届时可能还会同步推出折叠屏笔记本电脑。这款折叠屏iPhone预计采用翻盖式设计,即小折叠形态。
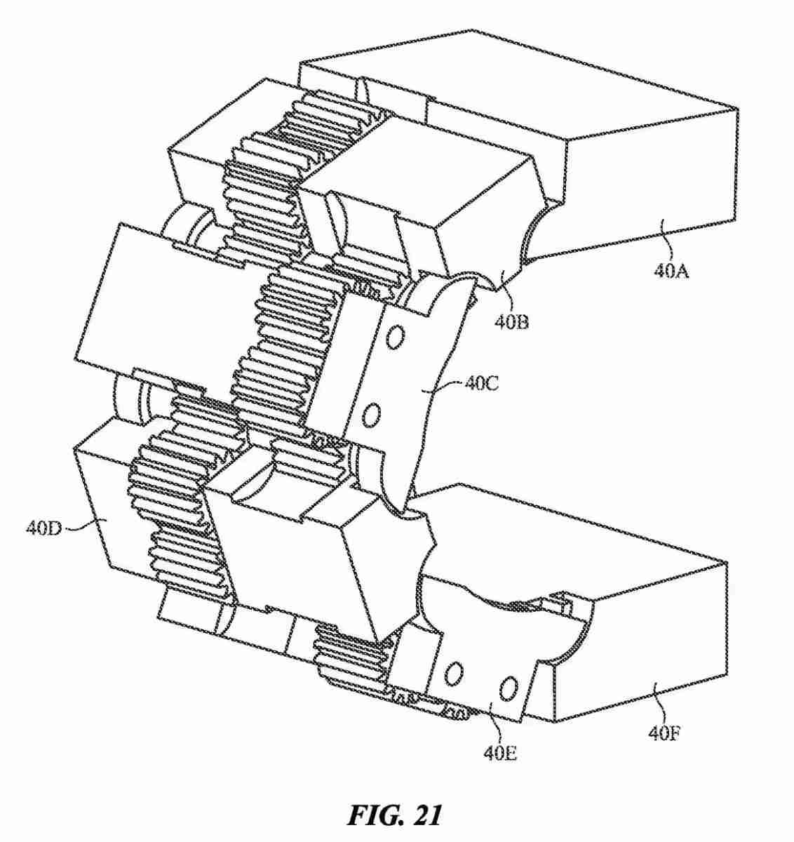
目前关于苹果折叠屏手机的各种传闻中,最大亮点在于“无折痕”屏幕技术。去年12月11日,IT之家曾报道,业界曝光了苹果一项折叠屏铰链设计专利,该专利可应用于手机、平板电脑、笔记本电脑甚至手表等多种设备,这意味着这项技术不仅能用于iPhone,还能应用于iPad、Mac和Apple Watch。

苹果还拥有另一项专利技术:在屏幕折叠部位的玻璃内侧进行切割处理,并填充聚合物材料,从而确保屏幕表面平整光滑,消除折痕。
据DSCC报告预测,得益于苹果的加入,2026年可折叠设备出货量将创下历史新高,增长率超过30%;2027年和2028年,增速仍将超过20%。折叠屏智能手机市场预计将从2023年的1900万台增长到2026年的7500万台,年均增长率超过50%。

<< 上一篇
网友留言(0 条)