荣耀“滑卷屏支撑结构及电子设备”专利获授权,探索卷轴屏手机相关技术
荣耀获得卷轴屏手机关键专利,提升柔性屏支撑效果!12月3日,国家知识产权局公布,荣耀终端有限公司一项名为“滑卷屏支撑结构及电子设备”的专利正式授权。该专利旨在解决现有卷轴屏手机柔性屏支撑效果不佳的问题。


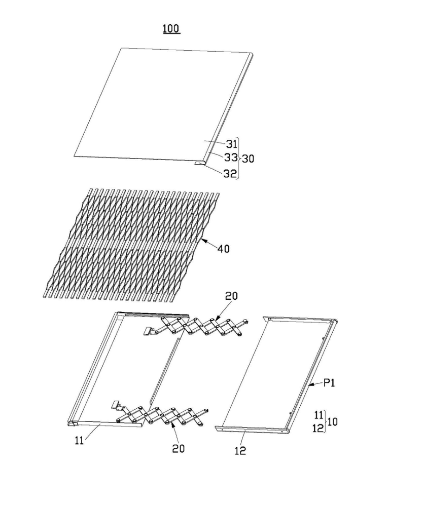
这项专利技术创新性地采用了一种多支撑单元结构。每个单元包含多个支撑体和连接它们的弹性梁结构。这些弹性梁能够在屏幕展开时弯曲变形,从而均匀地支撑柔性屏幕,避免屏幕出现明显的褶皱或松弛。 专利说明中指出,现有技术中常见的梳齿结构在屏幕完全展开时支撑效果显著下降,而荣耀的这项专利技术则有效解决了这个问题。

专利技术通过连接部和可弯曲变形的边梁,在屏幕展开时,支撑单元间距变大,边梁随之弯曲,保证了对柔性屏的连续支撑,显著提升了支撑效果,并有效减少了使用过程中的“肋骨感”。 这项专利技术的授权,标志着荣耀在卷轴屏手机技术研发方面取得了重要进展,预示着未来更成熟、体验更佳的卷轴屏手机即将问世。
网友留言(0 条)